特斯拉召回部分进口 Model S、X 及部分进口和国产 Model 3 电动汽车,哪些信息值得关注?
特斯拉召回部分进口Model S、Model X及部分进口和国产Model 3电动汽车 其中国产Model 3有10127辆据市场监管总局,特斯拉向国家市场监督...
- 174 个点赞 👍
现在这个操作,很容易让人联想到前几天的事情哎。
不过关于刹车这个,之前一直以为是纯电子系统的bug,但那样其实OTA就够了。
但如果这召回真的是因为那件事,再加上之前发生的幽灵加速信号事件,那可能真的是机械层面存在问题的。
刚好昨天看到了 @老年性CACZ 大佬的回答,刹车总成莫非真的有问题?那这就不是小事了。
不知道哪位在召回范围内的大佬,能不能做个对比测试,看看特斯拉到底召回后真正动了哪些地方。
其实特斯拉的争议点一直蛮多,马斯克强烈的个人风格+强制单踏板的风险+近年的特殊时期,应该构成了特斯拉争议的核心点,有兴趣的可以看看我的另一个回答。
还有就是昨天下午那件事,传言一辆Y带走了大半个亿的豪车。
希望能找到监控看看到底发生了什么,让子弹飞一会。
反正这两个月对特斯拉而言,事情出的都太密集了。
质量问题现在已经可以说打上了问号,而产品力问题几乎可以确定是出现竞争乏力的情况了。
这波还挺考验的,现在一方面是公关危机,另一方面还得加紧解决大改款提升产品力的问题。
就算没有质量问题,现在已经开始出现的部分现车交付情况绝对是一个非常糟糕的状态。
实话说,产品力那个样子,马某人陶某人嘴再厉害也没用啊,所以现在就开始在价格上下功夫了,走出了和比亚迪完全相反的路子。
考虑到特斯拉超高的单车毛利,其实牺牲一部分利润来换取在手订单的增加显然还是划算的。虽然可能牺牲了一小部分利润,但是可以换来更长久的稳定现金流。
总的说特斯拉已经从一个独自领跑者,慢慢丢失优势,现在已经开始遇到瓶颈。未来的路怎么走,其实还是要靠产品说话,定价策略这些终究是缓兵之计。
作为消费者,我们要做的其实就是选择一个预算内产品力足够好、安全性有保证的,其他的也没那么重要。
如果对经济、汽车、行业分析感兴趣,可以关注公众号:白菜研究所
如果你想详细了解法考的备考过程,可以看看我整理的法考备考攻略,方方面面全都有,我的法考通过经验都凝炼在这里了。
如果你想详细了解CPA的备考过程,可以看看我整理的CPA备考攻略,方方面面全都有,我的CPA通过经验都凝炼在这里了。
编辑于 2022-11-25 12:31・IP 属地上海查看全文>>
Jarvis - 127 个点赞 👍
查看全文>>
匿名用户 - 108 个点赞 👍
今年Q1的特斯拉:
交付压力依然非常大,交付周期约12-16周,需要等上至少3个月,特斯拉依然手握着大量订单。
现在的特斯拉:
特斯拉中国交付加速,最快 1 周提车,订单开始疲软,小道消息,特斯拉可能要继续降价。
特斯拉最近着实有点不顺,为了年终冲150万销量目标,割肉降价。上热搜后,又发生了“刹车门”事故,还有今天的召回负面。一面扛着销量压力,一面扛着舆论压力。
特斯拉今年4月份就已经有过一次召回,涉及12万辆Model 3。
当时的问题:
本次召回范围内车辆的后电机逆变器功率半导体元件可能存在微小的制造差异,其中部分车辆使用一段时间后元件制造差异可能会导致后逆变器发生故障,造成逆变器不能正常控制电流。此故障发生在车辆处于停车状态时,会导致车辆无法启动;此故障发生在车辆行驶状态时,会导致车辆失去行驶动力,极端情况下可能增加车辆发生碰撞的风险,存在安全隐患。
逆变器导致的失速问题,已经是非常重大的技术问题了。逆变器承担着将动力电池的高压直流电转换成频率和电流可变的三相交流电,关乎动力系统的正常运转。
这次的问题,同样严重:
本次召回范围内的部分车辆由于软件问题,可能出现动力电池电压感测回路反馈电压与电砖真实电压不一致,导致电池管理系统误判,车辆屏幕显示“需要维修”、“安全停靠车辆”等警示,车辆会逐步停止动力输出,极端情况下可能增加车辆发生碰撞事故的风险,存在安全隐患。
在服务中心重新安装安全带固定螺栓时,部分车辆中间安全带和左侧安全带卡扣装置的固定部件可能未被穿入连接螺栓。这些车辆如果发生碰撞,安全带将无法发挥约束作用,增加乘员在事故中受伤的风险,存在安全隐患。1.关于动力部分,电池BMS误判后,开始限制动力输出,极端情况下可能增加碰撞事故。什么是极端情况?当然是类似高速的场景,高速突然低速或者没有动力行驶,感受下有多危险。
mode3 车主失速事故 2.安全带的约束作用有多大不用讲了吧。事故中,后排的致死率远高于前排,就是因为后排没有系安全带的习惯,碰撞带来的冲击人直接飞出了,瞬时加速带来的伤害人体无法承受。所以安全带将无法发挥约束作用,也是要命的事情。
编辑于 2022-11-25 14:32・IP 属地上海查看全文>>
秋名KIDD - 95 个点赞 👍
其实特斯拉召回已经有好几次了。
2021年12月3日,特斯拉(上海)有限公司召回部分国产Model Y电动汽车,共计21599辆,主要涉及转向节问题。
2021年12月31日,特斯拉(上海)有限公司召回部分国产Model 3电动汽车,共计144208辆,主要涉及后备箱盖问题;
2022年2月18日,特斯拉将召回2020年12月28日至2022年1月15日期间生产的部分国产Model 3(12003辆)和Model Y(14044辆)电动汽车,共计26047辆。本次召回范围内部分车辆的热泵电子膨胀阀定位时会有微小移动,因软件(2021.44至2021.44.30.6版本)没有纠正功能,长期可能造成阀门部分开启,热泵压缩机停止工作,车内制热功能失效。
2022年11月25日,特斯拉召回生产日期在2013年9月25日至2020年11月21日期间的部分进口Model S、Model X电动汽车,共计67698辆。 本次召回范围内的部分车辆由于软件问题,可能出现动力电池电压感测回路反馈电压与电砖真实电压不一致,导致电池管理系统误判,车辆屏幕显示“需要维修”、“安全停靠车辆”等警示,车辆会逐步停止动力输出,极端情况下可能增加车辆发生碰撞事故的风险,存在安全隐患。
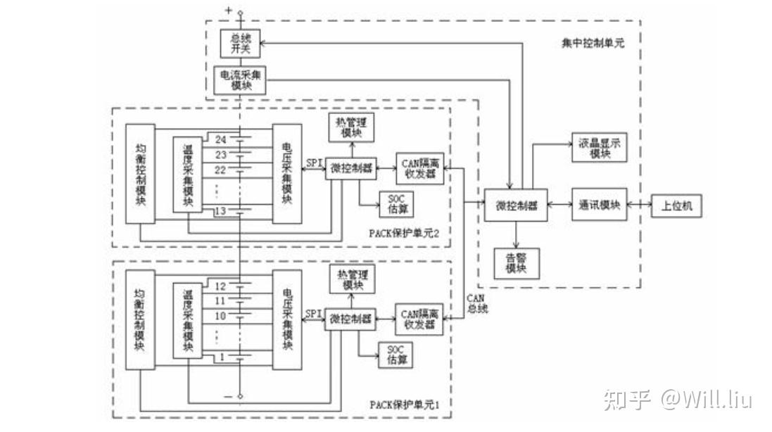
电压是决定动力电池充放电和电池容量的重要参数。
动力电池有专门电池管理系统(Battery Management System)BMS,功能是对电芯及模块进行整体和单独的管理。包括电压、电流、温度的监控和干预,保障电池系统的电压、电流、温度在控制的安全范围内运行。目的是尽可能准确提供电池的状态,预测电池剩余电量,延长电池的使用寿命等。
如果要细分,电池管理系统的功能有数据采集、状态估计、数据显示、热管理、数据通信、安全管理、能量管理和故障诊断。
而题目里面说的对动力电池的精准管理,最有效的应用,这本来就是BMS的基础要求。
以下是BMS的通用管理模块:
- 单体电芯电压检测
- 温度检测
- 高压系统电压检测
- 母线总电流检测
- SOC估算
- SOH估算
- 功率限值估算
- 充放电管理
- 均衡功能
- 绝缘电阻检测
- 高压互锁(HVIL)检测
- 碰撞信号检测
- 碰撞断电管理
- 总线通信功能
- 充电功能
- 过充电/过放电/过温保护
- 诊断功能
比如这个电芯电压检测,通用的标准是对电池系统内部单体电芯的电压进行检测。检测范围为0-5V。全部单体电芯测量周期不超过50ms.单体电池(模块)电压检测精度不大于±0.5%FS(满量程),全温度范围内采样误差不大于±10mV。
基本上,这个检测是不停的,全天候24小时,有条件的话还要开通网络,数据实时上传网络进行后台监控的。
按照描述,属于电池电压感测回路的反馈电压不一致,也就是说,本来电池工作得好好的,但是反馈回来的电压说电池不正常,导致系统就会出现故障提示,严重情况下,系统可能会发生误判。觉得正常放电的动力电池出现极大风险,需要立马停机保障人车安全,系统BMS就会采取紧急断电,停止动力输出的方式来应对。
如果这个时候在高速上,车主还踩着电门准备超车,后面还紧跟着一辆尾随的,突然车辆断电,没有了动力,电门踩下去无反应,车辆不受控制的急减速,可想而知会出现啥情况。
这个故障的危险性实际不小,要不然也不会这么大规模召回了。
不过有一说一,这个故障和车主说的刹车、电门互连,踩刹车成了踩电门,一路夺命狂飙(具体看事故调查结果)是无关的,不要产生过度联想。
(部分图片来源网络,侵删!)
编辑于 2022-11-25 15:06・IP 属地湖北查看全文>>
Will.liu - 78 个点赞 👍
查看全文>>
少侠 - 10 个点赞 👍
我们分开看:
进口 Model S、Model X:生产日期在 2013 年 9 月 25 日至 2020 年 11 月 21 日期间,共计 67698 辆。
召回:由于软件问题,可能出现动力电池电压感测回路反馈电压与电砖真实电压不一致,导致电池管理系统误判;
车辆屏幕显示「需要维修」、「安全停靠车辆」等警示,车辆会逐步停止动力输出,极端情况下或增加车辆发生碰撞事故的风险。
解决方案:通过 OTA 为召回范围内的车辆免费升级软件;对于无法 OTA 的汽车,特斯拉服务中心将联系用户升级软件。
潜在危险:上面说的比较隐晦,极端情况下或增加车辆发生碰撞事故的风险。想象下,如果在高速上,低速变道或是突然失速是怎样一种场景,等同于自杀。这简直是要命的bug,赶紧召回。
2.Model 3:
- 进口 Model 3:生产日期在 2019 年 1 月 12 日至 2019 年 11 月 22 日期间,共计 2736 辆;
- 国产 Model 3:生产日期在 2019 年 10 月 14 日至 2022 年 9 月 26 日期间,共计 10127 辆。
召回:所涉车辆因售后维修和保养而拆卸过第二排座椅中间安全带,在重新安装安全带固定螺栓时,部分车辆中间安全带和左侧安全带卡扣装置的固定部件可能未被穿入连接螺栓。
这些车辆如果发生碰撞,安全带将无法发挥约束作用,增加乘员在事故中受伤的风险。
解决方案:为召回车辆免费检查第二排座椅中间安全带装置,若发现中间安全带和左侧安全带卡扣的固定部件未被正确安装,将重新正确安装。
潜在危险:先抛开刹车问题,目前还没有一个定论。正常事故中,除了车辆溃缩吸能,剩下能救命的只有气囊安全带了。安全带绝对是救命的存在,上面提到的问题是:车辆如果发生碰撞,安全带将无法发挥约束作用,增加乘员在事故中受伤的风险。这哪是受伤,是要你命!
这次召回根本不是简单的小问题,都是要命的问题..
我有时候挺疑惑的,特斯拉的底层技术还是挺厉害,打破传统的eea架构,芯片、算法,传感器融合,以及全栈自研的能力。但好的技术转化成用户最终的产品体验总是出问题,无论是车机还是驾驶辅助。
降价前的特斯拉,曾经能够日赚2-3亿,每辆车赚 7 万元。赚那么多,成本管控倒是特别极致,还是在花点时间、精力优化产品bug吧。
发布于 2022-11-25 13:05・IP 属地江苏查看全文>>
Ezreal






