比亚迪声称早已收集好大量关于"龙猪-集车"恶意诋毁、贬低侮辱比亚迪的证据,决定正式起诉"龙猪-集车"。

天眼妹查了一下该博主之前发的微博,发现仅是6月3号一天,他就发了12条与“比亚迪”相关的内容,多是比亚迪的负面信息,其中还有不少比较主观的评价。

8过这位博主被比亚迪起诉的同时,已经被微博禁言了……

被禁言的原因是微博认为该用户通过账号矩阵造谣企业、炮制虚假概念,搞"流量经济"。


天眼妹查到,这位大V在抖音、B站、微信等平台均创立了自己的账号,多渠道发布自己的车评。

根据一些公开的资料,龙猪-集车其人本名李睿智,IP为上海的汽车达人,天眼查显示,2018年10月8日,他成立了上海集车文化传媒有限公司,经营范围包括文化艺术交流策划、企业形象策划等。


“龙猪-集车”之前曾攻击过比亚迪社保按最低基数缴纳,emmm,不知道他的公司中交社保的4个人,是不是按规定全额缴纳了…

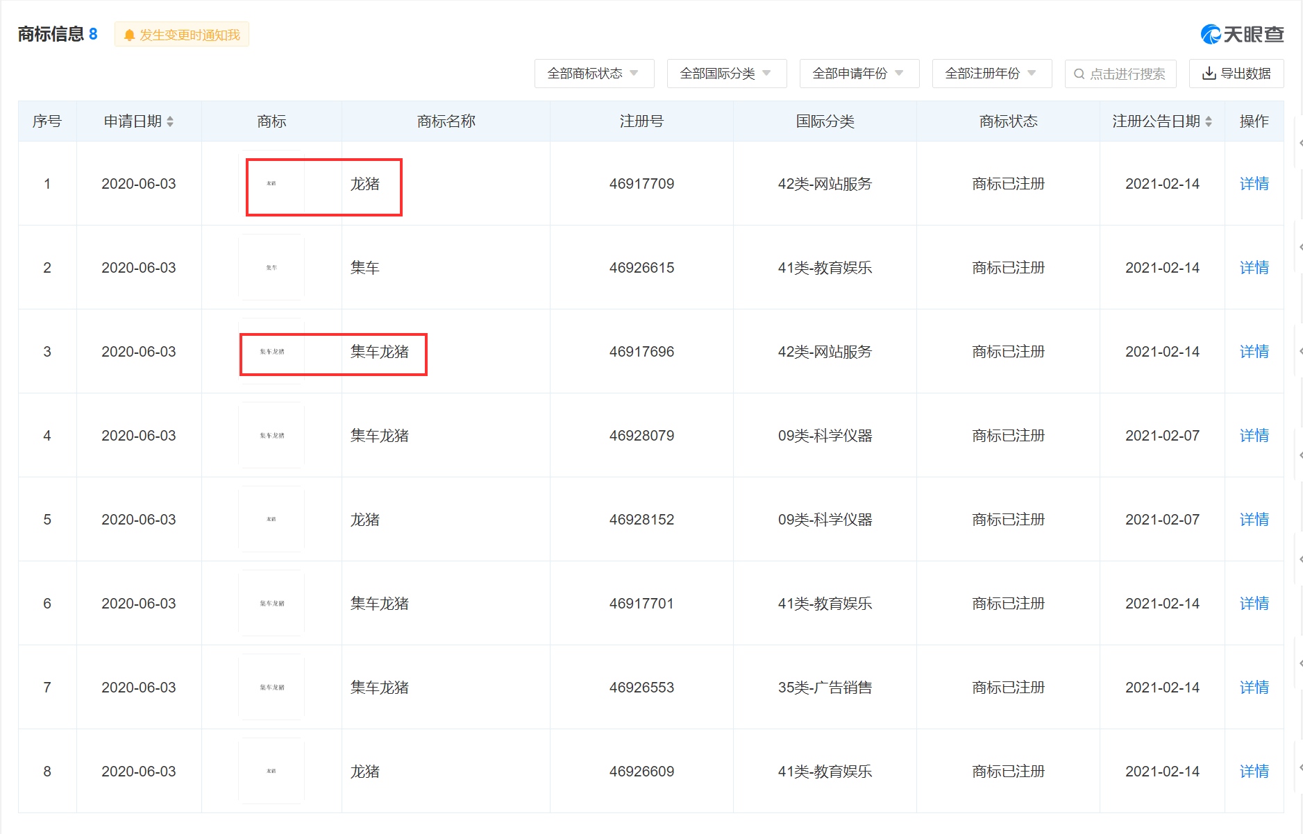
此外,天眼妹还注意到,该公司注册了多次龙猪、集车龙猪的商标信息,注册时间为2020年6月3日,并且均注册成功。

事实上,比亚迪起诉"龙猪-集车"并非第一起车企起诉车评人的案件,之前蔚来、特斯拉就起诉过部分车评人,其中特斯拉在名誉侵权案中还胜诉了。


网络并非法外之地,任何人都不能为了赚取流量而恶意造谣,跟大家一起蹲一个判决结果~
发布于 2023-07-24 20:01・IP 属地北京